近日,admw360教研组为大家整理盘点了2022年10所500分也能上的211大学一览,性价比超高!想报考的学生杆件来看吧。
★招生班级:鸿志班、笃行班、翰林班
★招生对象:京籍全日制:高复生,京籍回京,高一至高二全日制
非京籍全日制:天津河北等省高考生,高一至高二全日制
★师 资:特聘海淀高中校长,教学管理,特邀海淀高考团队授课
01 南昌大学(211)
说到南昌这个地方,相信很多文科生或者对历史比较感兴趣的应该都是比较熟悉的,因为著名的南昌起义就是来自这里,可能也就局限于此了。
但其实这座城池更多的是一座非常有潜力的城市,这些年经济发展也是很迅速的。
而这所学校在这座城市甚至于整个江西省唯一一所211,论综合实力以及办学规模都是很强的。
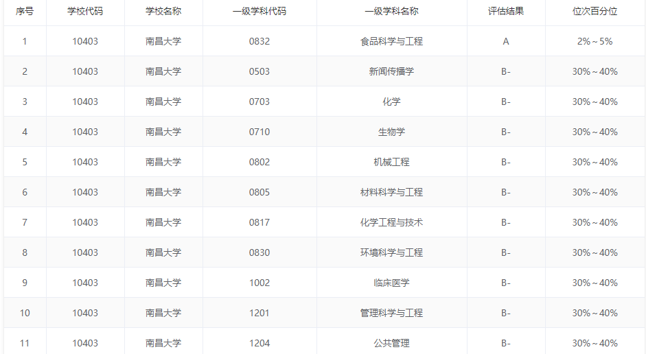
南昌大学在全国第四轮学科评估中,食品科学与工程获得了A,学科排名位于全国第二。此外,新闻传播学、化学等10个学科获得了B-,详情见下图:

02 太原理工大学(211)
这一所学校可能很少有人了解它是一所211,就是因为这所学校太低调了!
但它的实力真的挺牛的,因为无论是它的土木还是建筑、机械或者电器都很厉害的。
这些专业基本毕业都不愁工作而且都是王牌,但是作为重理的大学最大的缺点在于它的文科专业弱了点。
03 东北林业大学
一听名字就知道是一个非常重视林业专业的大学,而它也是“字如其名“林业工程、林学都很强大。
这所学校是由林业局以及当地政府、教育部共同建设的名校并且是唯一一所拥有林业系统国家级重点实验室,所以实力是相当雄厚的!这所学校的师资力量、办学规模都是很牛的,在今年也是排到了143。
04 安徽大学
这所学校比较重文科类专业,所以在文学、英语方面都是超牛的。
这所学校位于合肥,虽然城市经济实力不是特别厉害可是在高等教育一直非常重视。这所学校的出彩之处在于它的师资力量、办学规模、硬件设施都很厉害!
在全国第四轮学科评估中,安徽大学的应用经济学、法学等7个学科被教育部评为B,学科排名位于全国第四。详情见下图:

05 河海大学(常州校区)(211)
河海大学在国内也算是一所重点211大学了,被称作小985,实力也是非常雄厚。尤其水利专业,在全国更是数一数二的。
不过低分想上河海大学是可以的,比如常州校区,一般来说重点大学的分校都要比校本部录取分数低,因此稍微努力一下,中等生是可以冲刺一下这所学校的。
河海大学的除水利工程堪称全国第一外,土木工程、环境科学与工程等学科在全国第四轮学科评估中获得了A-,学科排名位于全国第三。详情见下图:

06 东北农业大学(211)
因为农学相关专业考生的报考热情不高,因此农学类的大学高考录取分数普遍较低。
东北农业大学正是这种情况之下的一所211大学。由于专业性质以及地理位置,愿意报考东北农大的学生并不多,甚至有时候学校的录取分数低于很多普通一本大学,这对中等生来说,是很不错的选择。
东北农业大学的农业工程、食品科学与工程等学科位于全国前20%,详见下图:

07 辽宁大学
它在辽宁招收二本批次的学生,主要专业有英语,日语,俄语。虽然是二本专业,但是它与一本录取的学生毕业所发的毕业证和学位证都是一样的,而在省外,它的合作办学都是在一本批次招生。成绩还可以的同学,可以考虑一下这所学校。
辽宁大学的应用经济学、法学、马克思主义理论、工商管理等4个学科在第四轮学科评估中获得了B+,学科排名位于全国第四。
08 石河子大学(211)
石河子大学位于新疆石河子市,2008年入选“211工程”,综合实力在全国高校当中排名第150名左右,这所学校名气比较小,每年石河子大学的录取分数线都非常低。
在河南省,石河子大学的理科录取分数线仅仅超一本线三十分就可以被录取,石河子大学的综合实力在全国高校当中排名第150名左右,农学类学科实力比较强。
石河子大学的化学工程与技术、农林工程在全国第四轮学科评估中获得了B-,学科排名位于全国第五。
09 延边大学(211)
位于吉林省延吉市,简称延大。是国家“211工程”重点建设大学、“双一流”世界一流学科建设高校,作为一所211大学,延边大学的知名度比较低,可能很多人还没有听说过该大学。而且最近几年名声也大不如从前,录取分数也很低。
延边大学的外国语言文学位于全国前20%。
10 青海大学(211)
青海大学是我国西北地区重点建设的一所211院校,学校和西藏大学、石河子大学在2008年时一并入选为211工程综合性大学。
青海大学在整个西北部高等院校中是十分不错的,青海大学兼顾了本硕博教育,同时学校学科十分齐全,该校如今开设了众多的硕士及博士点。
因为地理位置的原因,学校的整体实力在211高校中仅处于中下游水平。再加上,青海省经济相对于东部地区较落后,所以使得青海大学录取线在211院校中并不是很高。在全国第四轮学课评估中,青海大学的草学获得了B-,学科排名位于全国第五 。
上述十所大学有实力不错的211,也有在当地享有很高认可度的重点大学,虽然这些大学的地理位置上的优势不是很明显,但是实力都很不错。
对于大多数同学来说报考这些学校是非常不错的选择。
或许地理位置上的劣势,这些大学造就了众多学生检漏的机会。所以,选择什么样的大学最重要的当然是要根据自身实际情况去选。
试题推荐:

点点在线ios版下载课程推荐:(报名热线:400-616818-2)